简介:
在微信运营的征途中,你是否时常遭遇竞争对手的暗中使绊,或是遭遇不怀好意者的恶意举报?别再头疼了!这里有一款神秘应用,它将为你量身打造一套与微信公众号投诉举报系统高度相似的虚拟系统。只需轻点安装,你便能够巧妙地将那些心怀叵测的举报者引诱至你的掌控之中,有效规避真实投诉,从而避开微信的严格监管。这套系统,如同隐形的盾牌,让你的微信活动在风险海域中稳如磐石!
【应用功能揭秘】
1. 灵活适配无论第三方平台如何修改文件,这款应用都能无缝融入,轻松调用。
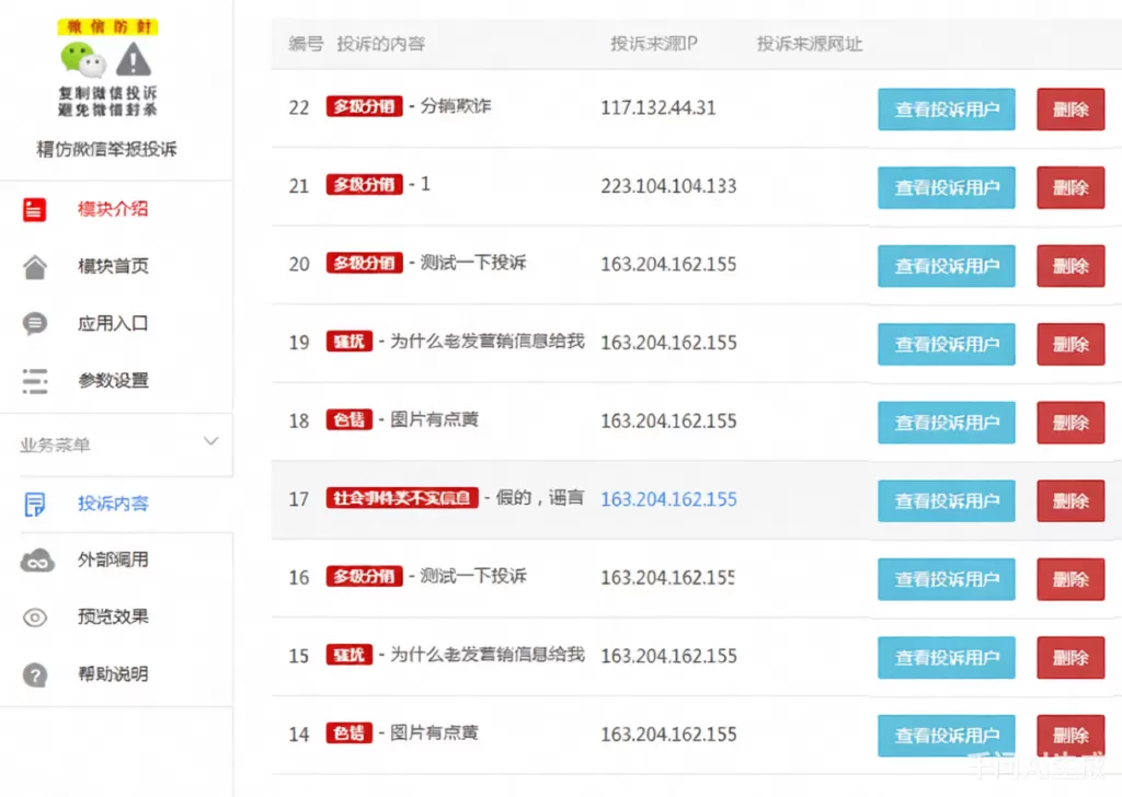
2. 情报搜集后台实时监控,一目了然地查看投诉内容,并识别投诉者的真实微信形象与昵称,让你洞悉对手的每一次暗箭。
3. 定制化设置投诉举报的样式与提示文字,皆可随心所欲地调整,打造独一无二的投诉体验。
4. 调用多样无论是通过JS文件还是直接HTML代码,第三方平台的调用都变得得心应手。
5. 实时预览参数设置完毕,即刻预览实际效果,确保一切尽在掌握。
6. 真假难辨系统界面与微信公众号投诉系统别无二致,用户难以分辨真伪,自然不会触发真实投诉。
7. 灵活布局投诉举报按钮可随意漂浮于页面各处,亮度可调,让举报者的目光无处可逃。
【应用价值体现】
1. 有效降低因强制关注、诱导分享等违规行为而被微信封杀的风险。
2. 后台头像与昵称一目了然,轻松识别并针对性处理恶意投诉者。
3. 在风险较高的微信活动中,这套系统将你的封杀风险降至最低。
4. 将用户投诉举报巧妙引导至你的系统,你既是运动员,又是裁判,掌控全局。
5.面对竞争对手的恶意投诉,此系统如同“偷梁换柱”、“瞒天过海”等兵法般,让你立于不败之地。
(图片:展示应用界面及功能演示)
下载地址;



© 版权声明
THE END

























请登录后查看评论内容